国内艺术机构的迷思:从民营到非营利之路
新浪收藏
松美术馆外景
2012年以来,民营美术馆成为国内艺术圈不可忽视的一大热点。2012年至2014年间,龙美术馆、余德耀美术馆、红砖美术馆,木木美术馆等先后在上海和北京成立;2015年,北京民生现代美术馆正式开幕;2016年,明当代美术馆落户上海……短短数年,这些民营和私人美术馆迅速成长,积累了学术和社会影响力,而这股热潮持续至2017年。据不完全统计,仅去年下半年,全国新增的民营美术馆就有昊美术馆(上海馆)、松美术馆、宝龙美术馆、苏宁艺术馆与明珠美术馆。今年1月1日,全新成立的金刚博物馆以“上海最大民营博物馆”的定位造势,成功迈入开馆元年。除此之外,据上海西岸集团公布的消息称,正在建设的西岸美术馆和星美术馆都有望于2018年完工。
苏宁艺术馆外景
刚泰集团历时两年打造泰会生活文化园
明珠美术馆外景
上述实例无不证明,国内民营美术馆、博物馆、艺术馆的数量依然处于上扬阶段。据去年10月上海市美术馆建设推进工作会公布的数据显示,当时,沪上美术馆数量达78家,其中,四分之三是民营美术馆。显然,这一数据仅在去年11月就因苏宁艺术馆和宝龙美术馆的成立而打破。
民营美术馆是指那些由非国有经济投资、经营的美术馆。在中国,民营美术馆主要分为二类。一类背靠地产、金融企业,如今日美术馆、外滩美术馆、上海喜玛拉雅美术馆、民生现代美术馆等;另一类则由私人藏家创立,如龙美术馆、余德耀美术馆和木木美术馆。这些美术馆是非营利机构。
平时爱看美术馆的你,是否会思考以下问题:美术馆、博物馆、艺术中心的非营利性代表什么?非营利性对机构以及所在员工带来哪些影响?如何注册成立一家非营利性的艺术机构?注册成功后,它会给机构带来哪些作用?在国内,艺术机构的非营利之路如何走下去?对此,雅昌艺术网结合多方数据,并与多位馆长对话,为您奉上一篇“科普文”。
今日美术馆
如何界定美术馆的非营利性?
在国际上,非营利机构(Non-Profit Organization)一词出现在上世纪八十年代,是指那些不是以营利为目的的组织,其涉及的领域很广,包括艺术、慈善、教育、政治、宗教、学术、环保等。
在我国,一个非营利机构,需满足以下九点:一、依照国家有关法律法规设立或登记的事业单位、社会团体、基金会、民办非企业单位、宗教活动场所以及财政部、国家税务总局认定的其他组织;二、从事公益性或者非营利性活动;三、取得的收入除用于与该组织有关的、合理的支出外,全部用于登记核定或者章程规定的公益性或者非营利性事业;四、财产及其孳息不用于分配,但不包括合理的工资薪金支出;五、按照登记核定或者章程规定,若该组织注销后,其剩余财产用于公益性或者非营利性目的,或者由登记管理机关转赠给与该组织性质、宗旨相同的组织,并向社会公告;六、投入人对投入该组织的财产不保留或者享有任何财产权利,本款所称投入人,是指除各级人民政府及其部门外的法人、自然人和其他组织;七、工作人员工资福利开支控制在规定的比例内,不变相分配该组织的财产,其中:工作人员平均工资薪金水平不得超过上年度税务登记所在地人均工资水平的两倍,工作人员福利按照国家有关规定执行;八、除当年新设立或登记的事业单位、社会团体、基金会及民办非企业单位外,事业单位、社会团体、基金会及民办非企业单位申请前年度的检查结论为“合格”;九、对取得的应纳税收入及其有关的成本、费用、损失应与免税收入及其有关的成本、费用、损失分别核算。
是不是信息量巨大?那来看看学者莱斯特·萨拉蒙总结的非营利性:一、非营利机构不以获取利润为宗旨;二、不能进行利润分配,即非营利机构可以进行一定形式的经营活动来赚取利润,但盈利不能在成员间进行分配;三、不能将机构资产转化为私人资产,即机构资产属于社会而不是机构经营者。
上海民生现代美术馆
针对上述三点,上海民生现代美术馆馆长甘智漪阐述了美术馆非营利性的要点:“这意味着从你的注册资金开始,到之后的所有运营费用投入,以及之后所产生的所有资产都将成为社会资产。”据中国社会组织网显示,2008年,原位于红坊的上海民生现代美术馆的注册资金为1000万元;2013年,原上海二十一世纪民生美术馆的注册资金为1200万元,现因双馆合并,原来两馆的所有资产全部转移到上海民生现代美术馆。
甘智漪进一步表示:“对于投资者来说,向民非组织投入的资源,均不得取得经济回报;并且,也不享有民非的所有权、支配权。尤其是,当你要终止一家公益美术馆时,在公益美术馆营运过程当中获得的艺术品捐赠,其投资者也不可以获得,这些艺术品就是社会资产。”甘智漪提到的“民非”机构,就是前文条款中的“民办非企业”。也就是说,民营的非营利美术馆、艺术馆、艺术中心可以售卖艺术衍生品、门票,也可以有企业和个人赞助,但这笔费用都要用于该馆,且所有资产——馆藏、灯光、设备等都是社会资产。
余德耀美术馆
在国内,如何成立一家民营非营利美术馆?
目前,国内对于美术馆、博物馆、 艺术中心、艺术馆的法律法规尚不完善。在现行的《美术馆工作暂行条例》(1986)中,仍将美术馆定性为“国家美术事业机构”;与此相比,现行的《博物馆条例》(2015)则对博物馆进行相对明确的划分:“包括国有博物馆和非国有博物馆。利用或者主要利用国有资产设立的博物馆为国有博物馆;利用或者主要利用非国有资产设立的博物馆为非国有博物馆。”
在我国,官方认可的非营利机构主要有三种,在民政部门注册成功的社会团体、民办非企业单位和基金会。若想开一家纯粹的民营非营利艺术机构——无论命名为美术馆、博物馆、艺术中心、艺术馆——都需在民政部门申请注册成民办非企业。注册成功后,艺术机构的对外名称和营业执照上完全一致,也标志着官方认可了美术馆/博物馆/艺术中心等机构的非营利资质。
若艺术机构要申请“民非组织”,需先向业务主管部门提交申请——民营博物馆需先通过文物局审批;民营美术馆、艺术中心/空间、艺术馆需先通过文广局审批。经上述业务主管部门审核后,再向非营利机构主管单位——市级或区属民政局提交申请。
“业务主管部门非常重要。只有成功挂靠,才走出了非营利的第一步。不过,现在的业务主管部门也有自己的主业,并不是所有机构都可以挂靠成功,这是他们止步于‘民非机构’的第一个原因。”一位不愿意透露姓名的美术馆从业者告诉雅昌艺术网。据现行的《民办非企业单位登记管理暂行条例》指出,所有向民政局登记“民非”的单位,需提供业务主管单位的批准文件。“对相关审批机构而言,除博物馆和美术馆业务主管部门不同之外,以美术馆、艺术馆、艺术中心为名,实质差别并不大,政府批准你是‘民非’,你就是‘非营利’,这才是最重要的。”上述美术馆从业者说。
龙美术馆西岸馆
根据《民办非企业单位登记管理暂行条例》指出,登记“民非”的机构需满足以下条件:“(一)经业务主管单位审查同意;(二)有规范的名称、必要的组织机构;(三)有与其业务活动相适应的从业人员;(四)有与其业务活动相适应的合法财产;(五)有必要的场所。”对此,申请者需向民政部门提交以下资料:登记申请书、业务主管单位的批准文件、场所使用权证明、验资报告、拟任负责人的基本情况和身份证明、章程草案。
由此可见,若艺术机构无法满足上述任何一点,都无法成功注册为“民非”机构,实现被国内官方认可的“非营利性”。
以上述第五条“必要的场所”为例,若一家美术馆尚无空间、或没有符合政府规定的产权或合法租赁的空间,是很难申请成功的。据现行的国家标准《城市用地分类与规划建设用地标准》中划定的用地性质规定,文化设施用地(A)包括“图书展览设施用地(A21)”和“文化活动设施用地(A22)”。其中,图书展览设施用地(A21)具体指公共图书馆、博物馆、档案馆、科技馆、纪念馆、美术馆和展览馆、会展中心等设施用地。举个例子,若一家美术馆在绿地、体育设施用地、工业用地等其他用地上建设或租赁空间,由于用地性质的原因,在相关产权没有变更的情况下,它几乎不可能申请到“民非”。此外,艺术机构的通道、安保设施、建筑规格都需达到专业标准,否则也很难申请成功。
明圆美术馆内景
明当代美术馆
明当代美术馆创办人凌菲菲告诉雅昌艺术网,在开发明当代所处的那片地区时,就已计划做一个现代化的美术馆。“我们对旧厂房做了很多保留——比如原先的漏斗、加料器、铁轨、推车等各类设备。它所有的建筑结构、消防系统、疏散通道、电梯、仓库等其他方面都是按照美术馆的标准来做。中国美院还帮我们设计了十大景观,就是和园林完全结合的集合雕塑。明当代申请‘民非’时,因准备充足,批复得很容易。”凌菲菲说。
复星艺术中心
“民非”标签给艺术机构带来什么?
中国民营美术馆始于上世纪九十年代,不少业界从业者都曾感叹申请“民非”之难。不过,作为一家美术馆、艺术馆或艺术中心/空间,成功注册“民非”后,将有机会得到政府的相关支持。
据《关于非营利组织免税资格认定管理有关问题的通知》(财税[2014]13号文件)规定,符合前文9个条件的、依照国家有关法律法规设立或登记的事业单位、社会团体、基金会、民办非企业单位、宗教活动场所以及财政部、国家税务总局认定的其他组织,可向其所在地省级税务主管机关提出免税资格申请。非营利组织免税优惠资格的有效期为五年。
根据《财政部、国家税务总局关于非营利组织企业所得税免税收入问题的通知》(财税[2009]122号)文件规定,取得免税资格的非营利组织,有五类免税收入:一、接受其他单位或者个人捐赠的收入;二、除《中华人民共和国企业所得税法》第七条规定的财政拨款以外的其他政府补助收入,但不包括因政府购买服务取得的收入;三、按照省级以上民政、财政部门规定收取的会费;四、不征税收入和免税收入孳生的银行存款利息收入;五、财政部、国家税务总局规定的其他收入。
“这里的税收优惠,是指美术馆的受捐赠收入和拨款收入是可以免税的。”甘智漪进一步介绍,“比如,上海市长宁区给原位于红坊的上海民生现代美术馆五年的免税资格;浦东新区也给了原上海二十一世纪民生美术馆五年的免税资格。因此,在我们改建世博会原法国馆时,政府就对我们的改建投入免去了2000多万的税收。而且,这次我们浦西、浦东两馆合并以后,我们原来以为上海民生现代美术馆迁址浦东需要重新申请免税资格,但是没想到,浦东新区政府回复我们,原来长宁的免税资格可以延用到五年到期。”
上海喜玛拉雅美术馆
此外,据《中华人民共和国公益事业捐赠法》(1999)的第四章第二十四条、二十五条规定:“公司和其他企业依照本法的规定捐赠财产用于公益事业,依照法律、行政法规的规定享受企业所得税方面的优惠。自然人和个体工商户依照本法的规定捐赠财产用于公益事业,依照法律、行政法规的规定享受个人所得税方面的优惠。”
“目前,公益美术馆可以免税运营,但没法向捐赠人开出免税发票。因此,如果一家企业有意愿向美术馆捐赠资金,同时又希望税前列支,那可捐赠给艺术基金会,这笔捐款用途可以指定为美术馆运营。”甘智漪说。
除了税收优惠,一旦成为“民非”机构,民营美术馆、艺术馆、博物馆可向有关部门申请各类专项资金。以上海市文物局、文广局公式的《2017年专项资金项目申报指南》为例,该转向基金总计9项,共计6950万元,资金分别投向 动漫游戏、民营院团、公益性演出、高雅艺术进校园、国有院团下基层演出补贴、社会力量举办博物馆、网络视听、群众文化项目资助和公共文化建设创新项目专项资金。其申报主体包含了“民非”企业。
木木美术馆
图说国内民营美术馆的非营利之路
看了那么多法律法规,我们最后用几张表来看一下国内艺术机构的非营利现状。我们以城市为单位,按照美术馆、博物馆、艺术馆、艺术中心,罗列在不同城市中,成功注册“民非”的单位。
北京
美术馆
22家以“美术馆”为名 成功在北京申请到“民非”的机构
博物馆
23家以“博物馆”为名 成功在北京申请到“民非”的机构
艺术馆
11家以“艺术馆”为名 成功在北京申请到“民非”的机构
上海
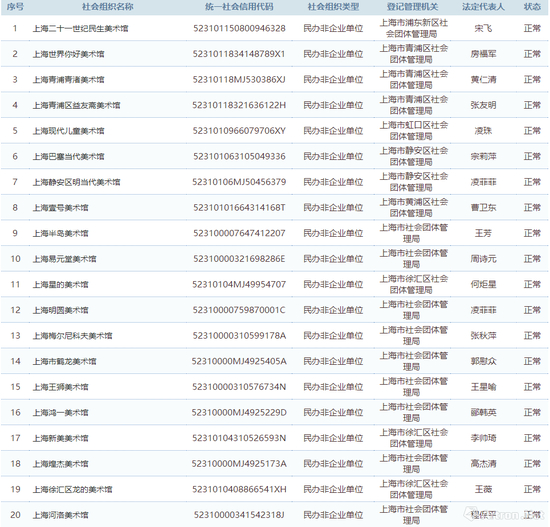
美术馆
42家以“美术馆”为名 成功在上海申请到“民非”的机构
博物馆
27家以“博物馆”为名 成功在上海申请到“民非”的机构
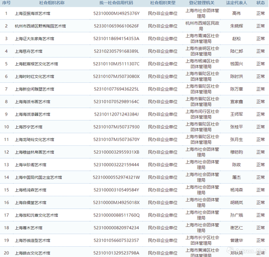
艺术馆
33家以“艺术馆”为名 成功在上海申请到“民非”的机构
南京
美术馆
16家以“美术馆”为名 成功在南京申请到“民非”的机构
博物馆
12家以“博物馆”为名 成功在南京申请到“民非”的机构
艺术馆
11家以“艺术馆”为名 成功在南京申请到“民非”的机构
杭州
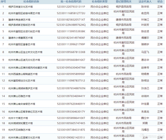
美术馆
15家以“美术馆”为名 成功在杭州申请到“民非”的机构
博物馆
40家以“博物馆”为名 成功在杭州申请到“民非”的机构
艺术馆
33家以“艺术馆”为名 成功在杭州申请到“民非”的机构
深圳
美术馆
15家以“美术馆”为名 成功在深圳申请到“民非”的机构
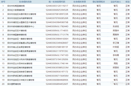
博物馆
32家以“博物馆”为名 在深圳成功申请“民非”的机构
艺术馆
5家以“艺术馆”为名 成功在深圳申请到“民非”的机构
广州
美术馆
5家以“美术馆”为名 成功在广州申请到“民非”的机构
博物馆
7家以“博物馆”为名 成功在广州申请到“民非”的机构
艺术馆
3家以“艺术馆”为名 成功在广州申请到“民非”的机构
成都
美术馆
22家以“美术馆”为名 成功在成都申请到“民非”的机构
艺术馆
6家以“艺术馆”为名 成功在成都申请到“民非”的机构
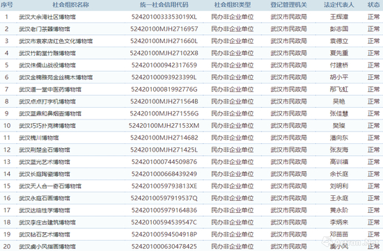
武汉
美术馆
1家以“美术馆”为名 成功在武汉申请到“民非”的机构
博物馆
36家以“博物馆”为名 成功在武汉申请到“民非”的机构
艺术馆
1家以“艺术馆”为名 成功在武汉申请到“民非”的机构
西安
美术馆
3家以“美术馆”为名 成功在西安申请到“民非”的机构
博物馆
33家以“博物馆”为名 成功在西安申请到“民非”的机构
艺术馆
1家以“艺术馆”为名 成功在西安申请到“民非”的机构
上图均来自中国社会组织网的官方信息,如图可见,截至1月29日晚,各地以“美术馆”、“博物馆”、“艺术中心”、“艺术馆”为名,成功注册民非的机构数量是:北京:23家博物馆、22家美术馆、5家艺术中心、11家艺术馆;上海:27家博物馆、42家美术馆、33家艺术馆、67家艺术中心;深圳:32家博物馆、15家美术馆、8家艺术中心、5家艺术馆;广州:8家博物馆、5家美术馆、3家艺术馆;成都:22家美术馆、91家博物馆、6家艺术馆、26家艺术中心;武汉:1家美术馆、36家博物馆、1家艺术馆、6家艺术中心;西安:3家美术馆、33家博物馆、1家艺术馆……
值得注意的是,上述所有的机构,其展品和活动包含经典艺术、当代艺术、表演艺术、音乐、舞蹈、服装、剪纸、家具等各个领域。若你以某家美术馆名为关键词,在中国社会组织官网上进行搜索,没有找到相关信息,那至少有三个可能:一、该美术馆并未申请民非、或未能申请通过成为民非机构;二、该美术馆正在申请,还在审核阶段;三、该美术馆以其他名字申请成功民非,只是没有用“美术馆”为名注册。当然,并不是所有“美术馆”、“艺术馆”、“博物馆”都是非营利机构。另外,除美术馆、博物馆、艺术馆、艺术中心或艺术空间之外,也存在以其他名称注册的非营利从事艺术的机构。
北京今日美术馆注册民非信息
目前,国内第一家成功注册“民非”,成为民营非营利美术馆的是今日美术馆。据悉,在筹备美术馆前,今日美术馆曾以“今典空间文化艺术发展有限公司”注册。几年后,前馆长张子康同政府相关部门建议申请,民政局才在2006年开放了民营美术馆申请民非的先例。此外,早期的UCCA当代艺术中心、伊比利亚当代艺术中心、长征空间、站台中国等,都是以企业、文化公司的方式进行注册。
不过,十多年后的今天,艺术机构的非盈利之路似乎顺利了一些。
我们以北京、上海的新增美术馆为例,看看美术馆对于民非的申请情况。
上海宝龙美术馆注册“民非”信息
去年11月18日,上海宝龙美术馆开幕,该馆拥有500至1100平方米的大小展厅共10个,其中3个为馆藏精品常设展厅。另外7个展厅中,有4个具备博物馆级国际标准的恒温恒湿展厅,并有挑高达5至9米的现当代艺术展场空间。开馆当天,美术馆推出了两场展览,分别是“书藏楼珍藏展:百川汇流”和“宝龙美术馆开馆展:寻脉造山”。据全国社会组织网官方资料显示,上海宝龙美术馆在2016年3月16日登记民非,注册资金为10万元,法定代表人为叶春敏,主要业务范围是“征集、展示、收藏艺术品,组织承办艺术交流活动以及中外艺术展览。(涉及行政许可的,凭许可证开展业务)”
上海苏宁艺术馆注册“民非”信息
一周后,苏宁艺术馆也拉开帷幕。苏宁艺术馆位于上海普陀区苏州河畔,这座法式建筑面积超过5000平方米。此次开馆大展从苏宁环球集团的3000余件作品中选择近二百余件书画,近二百件器物。同样从全国社会组织网上显示,上海苏宁艺术馆于2016年10月10日登记为民非企业,注册资金为10万元,法定代表人是苏宁创始人、苏宁环球董事长、苏宁艺术馆馆长张桂平。业务范围是“展览、征集、收藏、整理、研究和艺术精品和历史 文物;开展相关研究、研讨、交流、咨询、坚定和普及活动;提供艺术衍生品、艺术体验等配套服务。(涉及行政许可的,凭许可证开展业务)”
上海金刚博物馆注册“民非”信息
今年1月1日刚开馆的上海金刚博物馆,开馆即定位为“上海最大民营博物馆”。这座面积约20000平方米的博物馆有十个展馆,分别是古代石雕馆、海上画派馆、油画馆、雕塑馆、翡翠馆、精品翡翠馆、近现代大师馆、文房古玩馆、玻璃艺术馆、临展馆。据悉,上海金刚博物馆现拥有各类藏品40000余件。而该博物馆已于2016年1月15日登记为民非机构,注册资金为50万元,法定代表人为徐景琪,其业务范围包括“石雕石刻、书法、国画、油画以及其他和艺术作品的收藏、展示、推广;开发相关衍生产品;开展相关学术研究和文化交流活动。(涉及行政许可的,凭许可证开展业务)”
以上三个例子,或能说明一个现象:中国经历了九十年代初期民营美术馆试水阶段,以及2012年民营美术馆高峰,新生的民营博物馆、美术馆、艺术中心、艺术馆,开始逐渐掌握一定的运营规范,并在现有法律法规和行业机制下,进行新一轮的突破。
在中国,艺术机构如何具体找到属于自己的非营利之路?欢迎关注雅昌艺术网明日推出的《国内艺术机构的非营利之路(下)》。
来源:雅昌艺术网